1. Характеристики резервуара
1.1. Тип резервуара:
РВС (без понтона)
РВСП (с понтоном)
РВСПК (с плавающей крышей)
1.2. Объем резервуара (м
3
)
1.3. Внутренний диаметр стенки (мм)
1.4. Высота стенки (мм)
1.5. Толщина стенки в нижнем поясе (мм)
1.6. При наличии защитной стенки:
а) внутренний диаметр (мм)
б) толщина (мм)
1.7. Расстояние от днища резервуара до понтона (плавающей крыши) в нижнем положении (мм)
1.8. Заполняется только для резервуаров с понтоном или плавающей крышей:
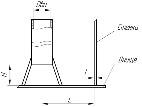
Расстояние от стенки резервуара до оси направляющей трубы L, мм
Расстояние от днища резервуара до нижнего среза направляющей трубы H, мм
Внутренний диаметр направляющей трубы Dвн, мм
Толщина стенки резервуара в первом поясе t, мм
2. Характеристики хранимого продукта
2.1. Хранимый продукт
2.2. Максимальная температура (
о
С)
2.3. Вязкость продукта (Ст)
3. Технические требования к заказываемому изделию и комплекту поставки:
3.1. Материал труб и арматуры пробоотборника:
сталь углеродистая
сталь коррозионностойкая
3.2. Условный проход труб пробоотборной колонны:
стандартный – 15 мм
увеличенный до
мм (для вязких нефтепродуктов)
3.3. Устройство обогрева внешнего блока:
да
нет
3.4. Климатическое исполнение по ГОСТ 15150-69:
У
УХЛ
Т
3.5. Количество заказываемых изделий (шт.)
4. Особые требования:
5. Контактная информация:
5.1. Наименование организации
5.2. Объект
5.3. Контактное лицо
5.4. Телефон для связи
5.5. E-mail